Ä·ÇÎÄ¿Ç÷¯ - Ä¿Ç÷¯(AV30-A)

* Photo ¹× Design
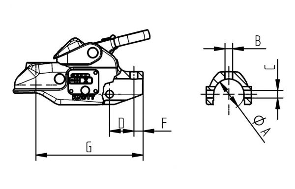
´ëÇ¥»çÁø ´ëÇ¥µµ¸é
ÁÖ¹®¹øÈ£À̹ÌÁö µµ¸éÀ̹ÌÁö Á¦Ç°¼³¸íµµ

* ÁÖ¹®¹æ¹ý    1.´ëÇ¥»çÁø°ú µµ¸éÀ» Âü°íÇÏ¿© °¢ Á¦Ç°±æÀ̺° ÁÖ¹®ÄÚµå ¹× ±âº»Ä¡¼ö¿¡ ¸Â°Ô Á¦Ç°À» ¼±ÀûÇÕ´Ï´Ù.
                   2.°¢ ºÎǰº°·Î ¼³°è»ó Ư¡ÀÌ Àֱ⶧¹®¿¡ Á¦Ç°¼±Á¤ÀÇ Àǹ̴ Á¦ÀÛÀÚÀÇ ¼ø¼öÇÑ °áÁ¤À̾î¾ß ÇÕ´Ï´Ù.
                   3.ÃÖÁ¾ ºÎǰÀÇ ¸ñ·ÏÀÌ ÃëÇյǸé "ÁÖ¹®ÄÚµå"¿Í °£´ÜÇÑ ¼³¸íÀ» µ¡ºÙ¿© ¸ñ·ÏÀ» ¸¸µé¾î ½ÅûÇÏ½Ã¸é µË´Ï´Ù.

* °Å·¡Á¶°Ç    1.¸ðµç °Å·¡ Á¶°ÇÀº ÁÖ¹®ÇϽмö·®ÀÇ ÃÑ·®¿¡ µû¶ó ÃÖÁ¾°áÁ¤À» ÇÕ´Ï´Ù.
                   2.°Å·¡´ë±ÝÀÇ Á¤»ê¹æ¹ýÀº ÁÖ¹®¿À´õ¸¦ ³»´Â ½ÃÁ¡(1Â÷)°ú Á¦Ç°ÀÌ µµÂøÇÏ¿© Åë°üÀýÂ÷°¡ ¸¶¹«¸®µÇ´Â ½ÃÁ¡(2Â÷)·Î ³ª´®
                   3.À§ ´ë±ÝÀÇ 1Â÷´Â Á¦Ç°°ª°ú ¿îÀÓ, °Å·¡ÀÚÀÌÀÍÀ̸ç, 2Â÷´Â Åë°ü·á¹×¿î¼Û·á¸¦ ÀǹÌÇÏ¿© ¸ðµç ºñ¿ëÀº ºÎ´ãÇÏ´Â Á¶°ÇÀÔ´Ï´Ù.
                   4.ÁÖ¹®ÇϽй°·®ÀÌ Áõ°¡ÇÒ¼ö·Ï Á¦Ç°ÇÒÀΰ¡°¡ ´Ã¾î³ª¸ç, ¿î¼Û·á°¡ Àý¾àÀÌ µË´Ï´Ù.
                   5.°Å·¡Àû¿ëȯÀ²Àº 1Â÷´ë±ÝÀ» ¼Û±ÝÇϴ ȯÀ²(À¯·áÈ­)·ÎÇϸç 2Â÷´ë±ÝÀº ¼öÀÔÀÚ°¡ ÁöÁ¤ÇѰü¼¼»ç¿¡¼­ û±¸ÇÑ °ü¼¼ºñ¿ëÀ¸·Î
                   ÇÑ´Ù.
  
* ASÁ¤º¸ ¹× ±â¼úÁ¤º¸